收藏本站 上海888腾博会传感器科技有限公司

XLDH-F-I

XLDH-F-I

型号:XLDH-F-I

品牌:888腾博会

联系电话:021-51860181

E-mail:KT@KTGEE.NET.CN

产品介绍

产品咨询

888腾博会打滑检测器XLDH-F-I特点:


Ø LED指示灯显示


Ø 4~20mA模拟量输出


Ø 全自动设计,无需人工设定初始参数


Ø 采用继电器输出控制


Ø 采用单片机作为控制单元,反映速度快、精度高、误差小


Ø 采用一体式结构设计


Ø 非接触式,无易损元件,使用寿命长


Ø 高强度铝合金精密压铸壳体


Ø 两个螺栓固定,安装调整方便


Ø 防尘、防水、防凝露


888腾博会打滑检测器XLDH-F-I安装说明:

先将固定支架焊在输送机的横梁上;再将支臂用销轴、开口销连接在支架上。

安装后应满足下述要求:

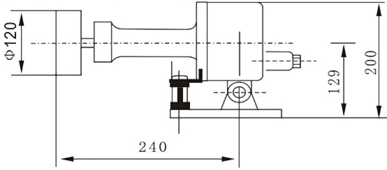
打滑检测装置胶带运行方向顺向防止,触轮距胶带边缘200-300mm

感应面与开关闸的距离4mm为佳,感应点可以是从动轮处凸出(面)部分(铁类),也可以采用凹面作为感应面。如果从动轮侧面无凹凸面,可以在从动轮内侧骨架上焊接一厚度为7mm铁片作感应面。感应面面积必须大于开关感应面(出厂时已配感应面)


注:有些输送机从动轮无法安装的,可安装在于胶带紧密接解且在胶带运行中不会出现脱离胶带能正常运转的转轴或滋轮处。某些安装位置可能需要现场制作安装支架,特殊情况下,如需要从新调节开关速度是时,在安装好开关后,启运输送机。在输送机正常速度下逆时针方向调整开方微开关内部电位器,调整到动作指示灯

打滑检测器XLDH-F-I坚固耐用工作原理 :


888腾博会打滑检测器随胶带运行而旋转时,传感器的磁感应信号输入到控制电路中去,经放大、整形后进行计数。其计数值与预置数比较,判断胶带机的带速,即:正常速度、打滑或超速等。同时,执行电路输出相应的开关信号。

当触轮随胶带机运行而旋转时带动机内的脉冲盘,在脉冲盘旋转时引起的磁感应信号的变化输入到速度传感器的控制电路中,经电路放大、比较、整形后进行计数。其计数值与预置数比较,判断胶带的带速,同时执行电路输出相应的开关信号。既:在达到低于打滑速度时执行电路输出相应的开关信号,使主机停机。本开关可调整速度值。


888腾博会打滑检测器XLDH-F-I坚固耐用基本参数:

1、 工作电源:AC220V 频率 50-60Hz

2、 温度范围:-20℃~+70℃

3、 启动延时:约10秒钟

4、 触点容量:240V/AC,3A,输出值一组常开,一组常闭

5、 转 速: 30-100转/分.

image.png

上一篇:NS-380-5-25

下一篇: FKLT2-II

相关产品

在线留言

*

*

◎在线咨询,请添加QQ:1550686613。

021-51860181
扫描二维码关注我们

扫描二维码 关注我们

888腾博会



  • 网站地图