一、用途
JLL系列料流检测装置是作为胶带运输机运送物料时,用来检测物料装载程度或状态的一种检测装置。
二、型号含义

三、主要技术参数及性能

JLL-I型料流检测装置为门式结构,带有触板,能够检测出运载物料时轻载、满载、超载三种状态,当胶带运行时,所载物料便推动触板向前摆动。当触板偏转角大于10°时,输出轻载信号;当偏转角大于35°时,输出满载信号。当偏转角大于50°时,输出超载信号。
JLL-II型料流检测装置为门式结构,双向检测,能够检测出轻载及满载二种状态,当触板偏转角小于20°时为轻载,大于20°时,输出满载信号。
为了适应户外条件下使用,本装置内部零件全部采用镀锌钝化处理,触板采用耐磨橡胶板、铸铝壳体、表面为氯化橡胶涂层。
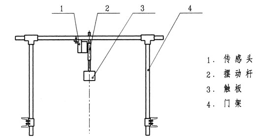
四、安装及接线
(一)安装
JLL型料流检测装置由传感器和门架组成,安装时,
1、先将门架固定在胶带机中间架上,然后将传感器安装在门架横梁上。
2、根据物料的装载高度,调整门架立柱高度及传感器摆杆长度(二者均为可调),确定传感器触板距离胶带的初始位置。

JLL型料流检测装置安装示意图
(二)接线
JLL-I型配有1.5米长七芯橡套电缆,用户可根据线号接线:
1、2为轻载常开接点;
1、3为轻载常闭接点;
1、4为满载常开接点;
1、5为满载常闭接点;
1、6为超载常开接点;
1、7为超载常闭接点。

JLL-I型料流检测装置接线图

JLL-II型料流检测装置接线图
JLL-II型配有1.5米长三芯橡套电缆,用户可根据线号接线:1、2为有载常开接点;1、3为有载常闭接点。
五、定货需知
1、注明名称、型号、数量;
2、注明带宽规格。


在线留言